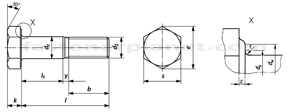
DIN 7999 High Tensile Strength Hexagon Fit Bolts (1983) specifies the requirements for hexagon fit bolts used in steel structures, covering thread sizes from M12 to M30. These fasteners are designed for use in steel, aluminum, or composite constructions. Unlike standard bolts, fit bolts have a precision-ground shank (tolerance class b11) intended to fit tightly into reamed holes to prevent lateral movement in structural joints.
Dimension Chart of DIN 7999 High Tensile Strength Hexagon Fit Bolts

| Thread Diameter (d1) | M12 | M16 | M20 | M22 | M24 | M27 | M30 | |
|---|---|---|---|---|---|---|---|---|
| d2 | 13 | 17 | 21 | 23 | 25 | 28 | 31 | |
| b | 18.5 | 22 | 26 | 28 | 29.5 | 32.5 | 35 | |
| c | min | 0.4 | 0.4 | 0.4 | 0.4 | 0.4 | 0.4 | 0.4 |
| max | 0.6 | 0.6 | 0.8 | 0.8 | 0.8 | 0.8 | 0.8 | |
| da | max | 15.2 | 19.2 | 24 | 26 | 28 | 32 | 35 |
| dw | min | 19 | 25 | 32 | 34 | 39 | 43.5 | 47.5 |
| e | min | 22.78 | 29.56 | 37.29 | 39.55 | 45.2 | 50.85 | 55.37 |
| k | 8 | 10 | 13 | 14 | 15 | 17 | 19 | |
| r | min | 0.8 | 0.8 | 1.2 | 1.2 | 1.2 | 1.5 | 1.5 |
| s | 21 | 27 | 34 | 36 | 41 | 46 | 50 | |
| y | max | 6.5 | 7.5 | 8.5 | 8.5 | 10 | 10 | 11.5 |
Technical Data provided by Fastener Planet
Shank Length Chart of DIN 7999 High Tensile Strength Hexagon Fit Bolts
| Nominal Length | M12 | M16 | M20 | M22 | M24 | M27 | M30 | |
|---|---|---|---|---|---|---|---|---|
| Nominal | Tolerance | Shank Length ls ± 1 | ||||||
| 40 | ± 1.25 | 15 | ||||||
| 45 | ± 1.25 | 20 | 15.5 | |||||
| 50 | ± 1.25 | 25 | 20.5 | 15.5 | ||||
| 55 | ± 1.5 | 30 | 25.5 | 20.5 | 18.5 | 15.5 | ||
| 60 | ± 1.5 | 35 | 30.5 | 25.5 | 23.5 | 20.5 | 17.5 | |
| 65 | ± 1.5 | 40 | 35.5 | 30.5 | 28.5 | 25.5 | 22.5 | 18.5 |
| 70 | ± 1.5 | 45 | 40.5 | 35.5 | 33.5 | 30.5 | 27.5 | 23.5 |
| 75 | ± 1.5 | 50 | 45.5 | 40.5 | 38.5 | 35.5 | 32.5 | 28.5 |
| 80 | ± 1.5 | 55 | 50.5 | 45.5 | 43.5 | 40.5 | 37.5 | 33.5 |
| 85 | ± 1.75 | 60 | 55.5 | 50.5 | 48.5 | 45.5 | 42.5 | 38.5 |
| 90 | ± 1.75 | 65 | 60.5 | 55.5 | 53.5 | 50.5 | 47.5 | 43.5 |
| 95 | ± 1.75 | 70 | 65.5 | 60.5 | 58.5 | 55.5 | 52.5 | 48.5 |
| 100 | ± 1.75 | 75 | 70.5 | 65.5 | 63.5 | 60.5 | 57.5 | 53.5 |
| 105 | ± 1.75 | 80 | 75.5 | 70.5 | 68.5 | 65.5 | 62.5 | 58.5 |
| 110 | ± 1.75 | 85 | 80.5 | 75.5 | 73.5 | 70.5 | 67.5 | 63.5 |
| 115 | ± 1.75 | 90 | 85.5 | 80.5 | 78.5 | 75.5 | 72.5 | 68.5 |
| 120 | ± 1.75 | 95 | 90.5 | 85.5 | 83.5 | 80.5 | 77.5 | 73.5 |
| 125 | ± 2 | 95.5 | 90.5 | 88.5 | 85.5 | 82.5 | 78.5 | |
| 130 | ± 2 | 100.5 | 95.5 | 93.5 | 90.5 | 87.5 | 83.5 | |
| 135 | ± 2 | 105.5 | 100.5 | 98.5 | 95.5 | 92.5 | 88.5 | |
| 140 | ± 2 | 110.5 | 105.5 | 103.5 | 100.5 | 97.5 | 93.5 | |
| 145 | ± 2 | 115.5 | 110.5 | 108.5 | 105.5 | 102.5 | 98.5 | |
| 150 | ± 2 | 120.5 | 115.5 | 113.5 | 110.5 | 107.5 | 103.5 | |
| 155 | ± 2 | 125.5 | 120.5 | 118.5 | 115.5 | 112.5 | 108.5 | |
| 160 | ± 2 | 130.5 | 125.5 | 123.5 | 120.5 | 117.5 | 113.5 | |
| 165 | ± 2 | 130.5 | 128.5 | 125.5 | 122.5 | 118.5 | ||
| 170 | ± 2 | 135.5 | 133.5 | 130.5 | 127.5 | 123.5 | ||
| 175 | ± 2 | 140.5 | 138.5 | 135.5 | 132.5 | 128.5 | ||
| 180 | ± 2 | 145.5 | 143.5 | 140.5 | 137.5 | 133.5 | ||
| 185 | ± 2.3 | 148.5 | 145.5 | 142.5 | 138.5 | |||
| 190 | ± 2.3 | 153.5 | 150.5 | 147.5 | 143.5 | |||
| 195 | ± 2.3 | 158.5 | 155.5 | 152.5 | 148.5 | |||
| 200 | ± 2.3 | 163.5 | 160.5 | 157.5 | 153.5 | |||
Technical Data provided by Fastener Planet
Weight Chart of DIN 7999 High Tensile Strength Hexagon Fit Bolts
Approximate mass (7,85 kg/dm3), per 1000 units in kg
| Nominal Length | M12 | M16 | M20 | M22 | M24 | M27 | M30 |
|---|---|---|---|---|---|---|---|
| 40 | 58 | ||||||
| 45 | 63 | 116 | |||||
| 50 | 68 | 124 | |||||
| 55 | 74 | 132 | |||||
| 60 | 78 | 141 | |||||
| 65 | 83 | 150 | 250 | ||||
| 70 | 89 | 159 | 263 | 325 | |||
| 75 | 95 | 168 | 277 | 344 | 423 | ||
| 80 | 100 | 176 | 290 | 363 | 442 | 585 | |
| 85 | 106 | 185 | 304 | 382 | 461 | 609 | 772 |
| 90 | 111 | 194 | 317 | 402 | 480 | 633 | 801 |
| 95 | 116 | 203 | 331 | 421 | 499 | 657 | 831 |
| 100 | 123 | 212 | 344 | 440 | 519 | 681 | 860 |
| 105 | 128 | 221 | 357 | 456 | 538 | 705 | 890 |
| 110 | 134 | 230 | 371 | 472 | 557 | 729 | 919 |
| 115 | 139 | 239 | 384 | 488 | 576 | 753 | 949 |
| 120 | 145 | 247 | 398 | 505 | 595 | 777 | 978 |
| 125 | 256 | 411 | 520 | 614 | 800 | 1000 | |
| 130 | 265 | 424 | 536 | 632 | 823 | 1030 | |
| 135 | 273 | 437 | 552 | 651 | 847 | 1060 | |
| 140 | 282 | 451 | 568 | 670 | 871 | 1090 | |
| 145 | 291 | 464 | 584 | 689 | 895 | 1120 | |
| 150 | 300 | 478 | 601 | 708 | 919 | 1150 | |
| 155 | 308 | 491 | 617 | 727 | 943 | 1180 | |
| 160 | 317 | 505 | 633 | 747 | 968 | 1210 | |
| 165 | 518 | 650 | 766 | 990 | 1240 | ||
| 170 | 532 | 666 | 785 | 1010 | 1270 | ||
| 175 | 546 | 682 | 804 | 1030 | 1300 | ||
| 180 | 560 | 698 | 824 | 1060 | 1330 | ||
| 185 | 714 | 842 | 1090 | 1360 | |||
| 190 | 730 | 861 | 1110 | 1390 | |||
| 195 | 746 | 880 | 1140 | 1420 | |||
| 200 | 763 | 900 | 1160 | 1450 |
Technical Data provided by Fastener Planet
