DIN 6929 Hexagon Head Bolts (2013); refers to a specialized category of captive screws and bolts (Verliersicherung) designed for metric coarse threads ranging from M3 to M30. Unlike standard bolts, these are engineered with a reduced shank (waisted shank) to prevent the fastener from falling out of a housing or panel when loosened.
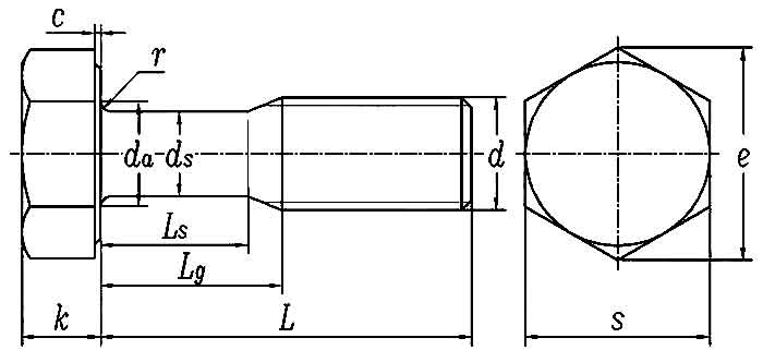
Dimensions of DIN 6929 Hexagon Head Bolts

| Thread Size (d) | M3 | M4 | M5 | M6 | M8 | M10 | M12 | M16 | M20 | M24 | M30 | ||
|---|---|---|---|---|---|---|---|---|---|---|---|---|---|
| P | Pitch | 0.5 | 0.7 | 0.8 | 1 | 1.25 | 1.5 | 1.75 | 2 | 2.5 | 3 | 3.5 | |
| Lg | Type K | max | 5 | 6.8 | 8.2 | 10 | 13 | 16 | 19 | 24 | 30 | 37 | 44 |
| Type L | max | 11.5 | 15.5 | 18.8 | 23 | 26.5 | 32.5 | 41 | 50 | 58 | 69 | 85 | |
| Ls | Type K | min | 4 | 5.4 | 6.6 | 8 | 10.5 | 13 | 15.5 | 20 | 25 | 31 | 37 |
| Type L | min | 10 | 13.4 | 16.4 | 20 | 22.5 | 28 | 35.5 | 44 | 50 | 60 | 74 | |
| da | max | 3.6 | 4.7 | 5.7 | 6.8 | 9.2 | 11.2 | 13.7 | 17.7 | 22.4 | 26.4 | 33.4 | |
| ds | max | 2.3 | 3 | 3.9 | 4.6 | 6.2 | 7.7 | 9.2 | 12.7 | 16.2 | 19.2 | 24.2 | |
| min | 2.1 | 2.8 | 3.7 | 4.4 | 6 | 7.5 | 9 | 12.5 | 16 | 19 | 24 | ||
| r | min | 0.1 | 0.2 | 0.2 | 0.25 | 0.4 | 0.4 | 0.6 | 0.6 | 0.8 | 0.8 | 1 | |
| c | max | 0.4 | 0.4 | 0.5 | 0.5 | 0.6 | 0.6 | 0.6 | 0.8 | 0.8 | 0.8 | 0.8 | |
| min | 0.15 | 0.15 | 0.15 | 0.15 | 0.15 | 0.15 | 0.15 | 0.2 | 0.2 | 0.2 | 0.2 | ||
| e | Grade A | min | 6.01 | 7.66 | 8.79 | 11.05 | 14.38 | 17.77 | 20.03 | 26.75 | 33.53 | 39.98 | / |
| Grade B | min | 5.88 | 7.5 | 8.63 | 10.89 | 14.2 | 17.59 | 19.85 | 26.17 | 32.95 | 39.55 | 50.85 | |
| k | nominal size | 2 | 2.8 | 3.5 | 4 | 5.3 | 6.4 | 7.5 | 10 | 12.5 | 15 | 18.7 | |
| Grade A | max | 2.125 | 2.925 | 3.65 | 4.15 | 5.45 | 6.58 | 7.68 | 10.18 | 12.715 | 15.215 | / | |
| min | 1.875 | 2.675 | 3.35 | 3.85 | 5.15 | 6.22 | 7.32 | 9.82 | 12.285 | 14.785 | / | ||
| Grade B | max | 2.2 | 3 | 3.74 | 4.24 | 5.54 | 6.69 | 7.79 | 10.29 | 12.85 | 15.35 | 19.12 | |
| min | 1.8 | 2.6 | 3.26 | 3.76 | 5.06 | 6.11 | 7.21 | 9.71 | 12.15 | 14.65 | 18.28 | ||
| s | max=nominal size | 5.5 | 7 | 8 | 10 | 13 | 16 | 18 | 24 | 30 | 36 | 46 | |
| Grade A | min | 5.32 | 6.78 | 7.78 | 9.78 | 12.73 | 15.73 | 17.73 | 23.67 | 29.67 | 35.38 | / | |
| Grade B | min | 5.2 | 6.64 | 7.64 | 9.64 | 12.57 | 15.57 | 17.57 | 23.16 | 29.16 | 35 | 45 | |
Technical Data provided by Fastener Planet
